Skip to main content

Kinematic Design of a Parallel Robot for Elbow and Wrist Rehabilitation

Part of the Mechanisms and Machine Science book series (Mechan. Machine Science,volume 57)

Abstract

This paper presents the kinematics of modular a parallel robot for post-stroke rehabilitation of elbow and wrist. The targeted motions for rehabilitation are: elbow flexion, pronation/supination, flexion/extension and adduction/abduction (radial/ulnar deviation) of the wrist. The kinematic structure of the robotic system is presented starting from general considerations concerning the rehabilitation protocol of the upper limb. Its kinematics is developed and simulation results are presented for a proposed training exercise.

Keywords

  • Parallel robot
  • Elbow and wrist rehabilitation
  • Kinematics
  • Modularity

This is a preview of subscription content, access via your institution.

Buying options

Chapter
GBP   19.95
Price includes VAT (United Kingdom)
  • DOI: 10.1007/978-3-319-79111-1_14
  • Chapter length: 8 pages
  • Instant PDF download
  • Readable on all devices
  • Own it forever
  • Exclusive offer for individuals only
  • Tax calculation will be finalised during checkout
eBook
GBP   111.50
Price includes VAT (United Kingdom)
  • ISBN: 978-3-319-79111-1
  • Instant PDF download
  • Readable on all devices
  • Own it forever
  • Exclusive offer for individuals only
  • Tax calculation will be finalised during checkout
Softcover Book
GBP   139.99
Price includes VAT (United Kingdom)
Hardcover Book
GBP   199.99
Price includes VAT (United Kingdom)
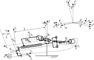
Fig. 1
Fig. 2
Fig. 3
Fig. 4
Fig. 5

References

  1. Allington J, Spencer SJ, Klein J, Buell M, Reinkensmeyer DJ, Bobrow J (2011) Supinator extender (SUE): a pneumatically actuated robot for forearm/wrist rehabilitation after stroke. In: Proceedings of the Conference on IEEE Engineering in Medicine and Biology Society, pp 1579–1582

    Google Scholar 

  2. Carbone G et al (2017) A study of feasibility for a limb exercising device. Advances in Italian mechanism science. In: Proceedings of the first international conference of the IFToMM Italy, pp 11–21

    Google Scholar 

  3. Ceccarelli M (2004) Fundamentals of mechanics of robotic manipulation. Springer

    Google Scholar 

  4. Chan DYI, Chan CCH, Au DKS (2006) Motor relearning programme for stroke patients: a randomized controlled trial. Clin Rehabil 20(3):191–200

    CrossRef  Google Scholar 

  5. Chen Y, Li G, Zhu Y, Zhao J, Cai H (2014) Design of a 6-DOF upper limb rehabilitation exoskeleton with parallel actuated joints. Bio-Med Mater Eng 24:2527–2535

    Google Scholar 

  6. Colizzi L, Lidonnici A, Pignolo P (2012) Upper limb rehabilitation after stroke: ARAMIS a “robomechatronic” innovative approach and prototype. In: Proceedings of the 4th IEEE RAS & EMBS international conference on biomedical robotics and biomechatronics (BioRob), pp 1410–1414

    Google Scholar 

  7. Dorobantu M et al (2012) Profile of the Romanian hypertensive patient data from SEPHAR II study. Rom J Intern Med 50(4):285–296

    Google Scholar 

  8. Duret C, Courtial O, Grosmaire A, Hutin E (2015) Use of a robotic device for the rehabilitation severe upper limb paresis in subacute stroke: exploration of patient/robot interaction and the motor recovery process. BioMed Res Int, Article ID 482389

    Google Scholar 

  9. Go AS et al (2014) Heart disease and stroke statistics—2014 update: a report from the American Heart Association. Circulation 129(3):e28–e292

    CrossRef  Google Scholar 

  10. Ho NS et al (2011) An EMG-driven exoskeleton hand robotic training device on chronic stroke subjects: task training system for stroke rehabilitation. In: Proceedings of IEEE International Conference on Rehabilitation Robotics

    Google Scholar 

  11. Hunt J, Lee H, Artemiadis P (2016) A novel shoulder exoskeleton robot using parallel actuation and a passive slip interface. J Mech Robot 9(1)

    Google Scholar 

  12. Lackland DT et al (2014) Factors influencing the decline in stroke mortality. Stroke 45(1):315–353

    CrossRef  Google Scholar 

  13. Maciejasz P, Eschweiler J, Gerlach-Hahn K, Jansen-Troy A, Leonhardt S (2014) A survey on robotic devices for upper limb rehabilitation. J Neuroeng Rehabil 11(3) (2014)

    Google Scholar 

  14. Major KA, Major ZZ, Carbone G, Pîslă A, Vaida C, Gherman B, Pîslă D (2016) Ranges of motion as basis for robot-assisted post-stroke rehabilitation. Int J Bioflux Soc Hum Vet Med 8(4):192–196

    Google Scholar 

  15. Mihelj M, Nef T, Riener R (2007) Armin II—7 dof rehabilitation robot: mechanics and kinematics. In Proceedings of 2007 IEEE international conference on robotics and automation, pp 4120–4125

    Google Scholar 

  16. Plitea N et al (2017) Parallel robotic system for elbow and wrist rehabilitation. Patent pending

    Google Scholar 

  17. Tarnita D, Geonea I, Petcu A, Tarnita DN (2016) Experimental characterization of human walking on stairs applied to humanoid dynamics. In: Advances in robot design and intelligent control. Springer, pp 293–301

    Google Scholar 

  18. Veerbeek M et al (2014) What is the evidence for physical therapy poststroke? A systematic review and meta-analysis. PLoS ONE 9(2)

    Google Scholar 

Download references

Acknowledgements

The paper presents results from the research activities of the project ID 37_215, MySMIS code 103415 “Innovative approaches regarding the rehabilitation and assistive robotics for healthy ageing” co-financed by the European Regional Development Fund through the Competitiveness Operational Programme 2014–2020, Priority Axis 1, Action 1.1.4, through the financing contract 20/01.09.2016, between the Technical University of Cluj-Napoca and ANCSI as Intermediary Organism in the name and for the Ministry of European Funds.

Author information

Affiliations

Authors

Corresponding author

Correspondence to D. Pisla .

Rights and permissions

Reprints and Permissions

Copyright information

© 2018 Springer International Publishing AG, part of Springer Nature

About this paper

Verify currency and authenticity via CrossMark

Cite this paper

Gherman, B., Carbone, G., Plitea, N., Ceccarelli, M., Banica, A., Pisla, D. (2018). Kinematic Design of a Parallel Robot for Elbow and Wrist Rehabilitation. In: Doroftei, I., Oprisan, C., Pisla, D., Lovasz, E. (eds) New Advances in Mechanism and Machine Science. Mechanisms and Machine Science, vol 57. Springer, Cham. https://doi.org/10.1007/978-3-319-79111-1_14

Download citation

  • DOI: https://doi.org/10.1007/978-3-319-79111-1_14

  • Published:

  • Publisher Name: Springer, Cham

  • Print ISBN: 978-3-319-79110-4

  • Online ISBN: 978-3-319-79111-1

  • eBook Packages: EngineeringEngineering (R0)