Abstract
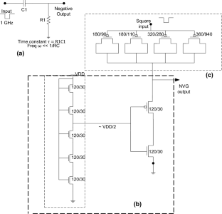
This work exhibits an area-efficient negative charge pump (NCP) solution for an on-chip localized body bias generator (BBG) which has almost zero settling time for use in critical path replicas clearance. Also, the proposed circuit incorporates process and voltage compensation and dynamic energy optimization. Its temperature variation trend is regular and justified. The negative charge pump is implemented using Cadence Virtuoso for design and Eldo for simulation with 28-nm ultra thin body and box—fully depleted silicon on insulator (UTBB-FDSOI) for 0.85–1.3 V inputs. The implemented design is single-stage design, so it is area efficient. Its area occupancy is 2.94 µm2 and power occupancy is 34 µW. Negative charge pump-based body bias generator can be sprinkled with standard cells to enhance performance and robustness of the design.



References
Tschanz JW et al (2002) Adaptive body bias for reducing impacts of die-to-die and within-die parameter variations on microprocessor frequency and leakage. IEEE J Solid-State Circuits 37(11):1396–1402
Srivastava A, Zhang C (2008) An adaptive body-bias generator for low voltage CMOS VLSI circuits. Int J Distrib Sens Netw 4(2):213–222 (Special Issue: Advances on Heterogeneous Wireless Sensor Networks)
Venkatesh S, Choudhury, B, STMicroelectronics (2015) Best-in-class standard-cell libraries for high-performance, low-power and high-density SoC design in 28 nm FD-SOI technology, Sept 2015
Blagojević M, Cochet M, Keller B, Flatresse P, Vladimirescu A, Nikolić B (2016) A fast, flexible, positive and negative adaptive body-bias generator in 28 nm FDSOI. In: 2016 IEEE symposium on VLSI circuits (VLSI-circuits), Honolulu, HI, 2016, pp 1–2
Anantha RR, Srivastava A, Ajmera PK (2005) Charge pump CMOS circuit based on internal clock voltage boosting for bio-medical applications. In: Proceedings of SPIE—smart electronics, MEMS, BioMEMS, and nanotechnology, vol 5763, pp 11–19. San Diego, CA, 6–10 March 2005
Kamae N, Islam AKMM, Tsuchiya A, Onodera H (2014) A body bias generator with wide supply-range down to threshold voltage for within-die variability compensation. In: 2014 IEEE Asian solid-state circuits conference (A-SSCC), KaoHsiung, pp 53–56
Levacq D, Takamiya M, Sakurai T (2008) Backgate bias accelerator for sub-100 ns sleep-to-active modes transition time. IEEE J Solid-State Circuits 43(11):2390–2395
Meijer M, Pineda de Gyvez J (2012) Body-bias-driven design strategy for area- and performance-efficient CMOS circuits. IEEE Trans Very Large Scale Integr (VLSI) Syst 20(1):42–51
Acknowledgements
The authors would like to thank STMicroelectronics, India for CAD tools and access to technology.
Author information
Authors and Affiliations
Corresponding author
Additional information
Publisher's Note
Springer Nature remains neutral with regard to jurisdictional claims in published maps and institutional affiliations.
Rights and permissions
About this article
Cite this article
Jain, A., Khare, K. & Tripathi, A.K. FDSOI-Based Area and Power-Efficient Robust Negative Charge Pump for Localized Body Bias Generator. Natl. Acad. Sci. Lett. 42, 345–349 (2019). https://doi.org/10.1007/s40009-018-0752-9
Received:
Revised:
Accepted:
Published:
Issue Date:
DOI: https://doi.org/10.1007/s40009-018-0752-9