Skip to main content

Effect of waste compaction density on stabilization of aerobic bioreactor landfills

Abstract

Landfill stabilization contributes to the safe operation and maintenance of landfills. This study used a simulated aerobic bioreactor landfill to investigate the impact of different compaction densities on its stabilization to provide a basis for optimal parameter selection during landfill design. Samples of municipal solid waste were tested with compaction densities of 450, 500, 550, 600, and 650 kg/m3 during the experiment. The optimum compaction density was obtained by periodically monitoring the temperature of the waste pile, the water quality of leachate, and the composition of the waste. The impacts of waste compaction density on waste pile temperature and leachate were investigated and coupled with the analysis of waste composition to discuss the possible reaction mechanism. Results showed that the most complete waste degradation occurred at 550 kg/m3 compaction density, which was effective at accelerating stabilization of the simulated aerobic bioreactor landfill. Limitations of the experiment are given to lay foundations for further study.

This is a preview of subscription content, access via your institution.

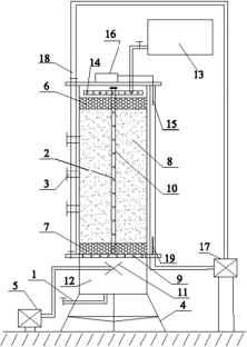
Fig. 1
Fig. 2
Fig. 3
Fig. 4
Fig. 5
Fig. 6
Fig. 7
Fig. 8
Fig. 9
Fig. 10

References

  • Amr SSA, Aziz HA (2012) New treatment of stabilized leachate by ozone/Fenton in the advanced oxidation process. Waste Manag 32(9):1693–1698

    Article  Google Scholar 

  • Bolyard SC, Reinhart DR (2016) Application of landfill treatment approaches for stabilization of municipal solid waste. Waste Manag 55:22–30

    CAS  Article  Google Scholar 

  • Brandstätter C, Laner D, Fellner J (2015a) Carbon pools and flows during lab-scale degradation of old landfilled waste under different oxygen and water regimes. Waste Manag 40:100–111

    Article  Google Scholar 

  • Brandstätter C, Laner D, Fellner J (2015b) Nitrogen pools and flows during lab-scale degradation of old landfilled waste under different oxygen and water regimes. Biodegradation 26(5):399–414

    Article  Google Scholar 

  • Caicedo LM, Wang H, Lu W, De Clercq D, Liu Y, Xu S, Ni Z (2017) Effect of initial bulk density on high-solids anaerobic digestion of MSW: General mechanism. Bioresour Technol 233:332–341

    CAS  Article  Google Scholar 

  • Cao BY, Feng SJ, Li AZ (2018) CFD Modeling of anaerobic–aerobic hybrid bioreactor landfills. Int J Geomech 18(7):04018072

    Article  Google Scholar 

  • Di Maria F, Micale C (2014) What is the acceptable margin of error for the oxygen uptake method in evaluating the reactivity of organic waste? Waste Manag 34(8):1356–1361

    Article  Google Scholar 

  • Erses AS, Onay TT, Yenigun O (2008) Comparison of aerobic and anaerobic degradation of municipal solid waste in bioreactor landfills. Bioresour Technol 99(13):5418–5426

    CAS  Article  Google Scholar 

  • Fadel ME, Fayad W, Hashisho J (2013) Enhanced solid waste stabilization in aerobic landfills using low aeration rates and high density compaction. Waste Manag Res 31(1):30–40

    Article  Google Scholar 

  • Grisey E, Aleya L (2016) Prolonged aerobic degradation of shredded and pre-composted municipal solid waste: report from a 21-year study of leachate quality characteristics. Environ Sci Pollut Res 23(1):800–815

    CAS  Article  Google Scholar 

  • Hashisho J, Ei-Fadel M (2014) Determinants of optimal aerobic bioreactor landfilling for the treatment of the organic fraction of municipal waste. Crit Rev Environ Sci Technol 44(16):1865–1891

    CAS  Article  Google Scholar 

  • Kumar S, Chiemchaisri C, Mudhoo A (2011) Bioreactor landfill technology in municipal solid waste treatment: an overview. Crit Rev Biotechnol 31(1):77–97

    CAS  Article  Google Scholar 

  • Liu L, Ma J, Xue Q, Wan Y, Yu X (2018) Modeling the oxygen transport process under preferential flow effect in landfill. Environ Sci Pollut Res 25:18559–18569

    CAS  Article  Google Scholar 

  • Liu SJ, Xi BD, Qiu ZP, He XS, Zhang H, Dang QL, Li D (2019) Succession and diversity of microbial communities in landfills with depths and ages and its association with dissolved organic matter and heavy metals. Sci Total Environ 651:909–916

    CAS  Article  Google Scholar 

  • Morello L, Cossu R, Raga R, Pivato A, Lavagnolo MC (2016) Recirculation of reverse osmosis concentrate in lab-scale anaerobic and aerobic landfill simulation reactors. Waste Manag 56:262–270

    CAS  Article  Google Scholar 

  • Morello L, Raga R, Lavagnolo MC, Pivato A, Ali M, Yue D, Cossu R (2017) The S.An.A. concept: semi-aerobic, anaerobic, aerated bioreactor landfill. Waste Manag 67:193–202

    CAS  Article  Google Scholar 

  • Nag M, Shimaoka T, Komiya T (2016) Impact of intermittent aerations on leachate quality and greenhouse gas reduction in the aerobic-anaerobic landfill method. Waste Manag 55:71–82

    CAS  Article  Google Scholar 

  • Nag M, Shimaoka T, Komiya T (2018) Influence of operations on leachate characteristics in the aerobic-anaerobic landfill method. Waste Manag 78:698–707

    CAS  Article  Google Scholar 

  • Nikolaou A, Giannis A, Gidarakos E (2010) Comparative studies of aerobic and anaerobic treatment of MSW organic fraction in landfill bioreactors. Environ Technol 31(12):1381–1389

    CAS  Article  Google Scholar 

  • Patil BS, Singh DN (2017) Simulation of municipal solid waste degradation in aerobic and anaerobic bioreactor landfills. Waste Manag Res 35(3):301–312

    CAS  Article  Google Scholar 

  • Pellera FM, Pasparakis E, Gidarakos E (2016) Consecutive anaerobic-aerobic treatment of the organic fraction of municipal solid waste and lignocellulosic materials in laboratory-scale landfill-bioreactors. Waste Manag 56:181–189

    CAS  Article  Google Scholar 

  • Sang NN, Soda S, Sei K, Ike M (2008) Effect of aeration on stabilization of organic solid waste and microbial population dynamics in lab-scale landfill bioreactors. J Biosci Bioeng 106(5):425–432

    CAS  Article  Google Scholar 

  • Sang NN, Soda S, Ishigaki T, Ike M (2012) Microorganisms in landfill bioreactors for accelerated stabilization of solid wastes. J Biosci Bioeng 114(3):243–250

    Article  Google Scholar 

  • Sethi S, Kothiyal NC, Nema AK (2013) Stabilisation of municipal solid waste in bioreactor landfills-an overview. Inter J Env Pollut 51(1-2):57–78

    CAS  Article  Google Scholar 

  • Shao LM, He PJ, Li GJ (2008) In situ nitrogen removal from leachate by bioreactor landfill with limited aeration. Waste Manag 28(6):1000–1007

    CAS  Article  Google Scholar 

  • Suchowska-Kisielewicz M, Sadecka Z, Myszograj S, Płuciennik E (2017) Mechanical biological treatment of municipal solid waste in POLAND-case studies. Environ Eng Manag J 16(2):481–491

    CAS  Article  Google Scholar 

  • Tong HH, Yin K, Ge L, Giannis A, Chuan VW, Wang JY (2015) Monitoring transitory profiles of leachate humic substances in landfill aeration reactors in mesophilic and thermophilic conditions. J Hazard Mater 287:342–348

    CAS  Article  Google Scholar 

  • Toma RB, Leung HK (1987) Determination of reducing sugars in French fried potatoes by 3,5-dinitrosalicylic acid. Food Chem 23(1):29–33

  • Wu CF, Shimaoka T, Nakayama H, Komiya T, Cha X, Hao Y (2014) Influence of aeration modes on leachate characteristic of landfills that adopt the aerobic–anaerobic landfill method. Waste Manag 34(1):101–111

    Article  Google Scholar 

  • Zhao YR, Liu TJ, Chen XS, Xie Q, Huang LP (2016) The effect of temperature on the biodegradation properties of municipal solid waste. Waste Manag Res 34(3):265–274

    CAS  Article  Google Scholar 

  • Zhao R, Wang X, Chen X, Liu Y (2019) Impacts of different aged landfill leachate on PVC corrosion. Environ Sci Pollut Res 26(18):18256–18266

    Article  Google Scholar 

Download references

Funding

This study is sponsored by National Natural Science Foundation of China (No.51978576), National Natural Science Foundation of China (No.41571520), Sichuan Provincial Key Technology Support (No. 2019YFN0027), Sichuan Young Talent Scientific Funding (No. 2019JDJQ0020), Sichuan Province Circular Economy Research Center Fund (No. XHJJ-1802), and Chengdu Key Technology Support (No. 2016-HM01-00502-SF).

Author information

Affiliations

Authors

Corresponding author

Correspondence to Rui Zhao.

Additional information

Publisher’s note

Springer Nature remains neutral with regard to jurisdictional claims in published maps and institutional affiliations.

Responsible editor: Philippe Garrigues

Rights and permissions

Reprints and Permissions

About this article

Verify currency and authenticity via CrossMark

Cite this article

Qiu, Z., Li, M., Zhang, L. et al. Effect of waste compaction density on stabilization of aerobic bioreactor landfills. Environ Sci Pollut Res 27, 4528–4535 (2020). https://doi.org/10.1007/s11356-019-06902-4

Download citation

  • Received:

  • Accepted:

  • Published:

  • Issue Date:

  • DOI: https://doi.org/10.1007/s11356-019-06902-4

Keywords

  • Compaction density
  • Aerobic bioreactor landfill
  • Landfill aeration