Skip to main content

Identification, cDNA cloning and possible roles of seed-specific rice asparaginyl endopeptidase, REP-2

Abstract

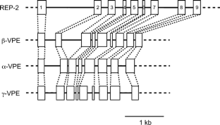
We previously showed that two major cysteine endopeptidases, REP-1 and REP-2, were present in germinated rice (Oryza sativa L.) seeds, and that REP-1 was the enzyme that digests seed storage proteins. The present study shows that REP-2 is an asparaginyl endopeptidase that acts as an activator of REP-1, and we separated it into two forms, REP-2α (39 kDa) and REP-2β (40 kDa), using ion-exchange chromatography and gel filtration chromatography. Although analysis of the amino terminals revealed that 10 amino acids of both forms were identical, their isoelectric points were different. SDS–PAGE/immunoblot analysis using an antiserum raised against legumain, an asparaginyl endopeptidase from jack bean, indicated that both forms were present in maturing and germinating rice seeds, and that their amounts transiently decreased in dry seeds. Northern blot analysis indicated that REP-2 mRNA was expressed in both maturing and germinating seeds. In germinating seeds, the mRNA was detected in aleurone layers but not in shoot and root tissues. Incubation of the de-embryonated seeds in 10–6 M gibberellic acid induced the production of large amounts of REP-1, whereas REP-2β levels declined rapidly. Southern blot analysis showed that there is one gene for REP-2 in the genome, indicating that both REP-2 enzymes are generated from a single gene. The structure of the gene was similar to that of β-VPE and γ-VPE isolated from Arabidopsis thaliana.

This is a preview of subscription content, access via your institution.

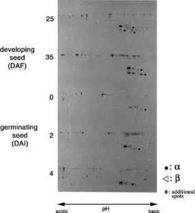
Fig. 1A, B.
Fig. 2A, B.
Fig. 3.
Fig. 4.
Fig. 5.
Fig. 6.
Fig. 7A–C.
Fig. 8.
Fig. 9.
Fig. 10.

Abbreviations

ABA:

abscisic acid

Asn:

asparagine

DAF:

days after flowering

DAI:

days after imbibition

GA3 :

gibberellic acid

VPE:

vacuolar processing enzyme

References

  • Abe Y, Shirane K, Yokosawa H, Matsushita H, Mitta M, Kato I, Ishii S (1993) Asparaginyl endopeptidase of jack bean seeds. Purification, characterization, and high utility in protein sequence analysis. J Biol Chem 268:3525–3529

    CAS  PubMed  Google Scholar 

  • Akasofu H, Yamauchi D, Mitsuhashi W, Minamikawa T (1989) Nucleotide sequence of cDNA for sulfhydryl-endopeptidase (SH-EP) from cotyledons of germinating Vigna mungo seeds. Nucleic Acids Res 17:6733

    CAS  PubMed  Google Scholar 

  • Becker C, Shutov AD, Nong VH, Senyuk VI, Jung R, Horstmann C, Fischer J, Nielsen NC, Müntz K (1995) Purification, cDNA cloning and characterization of proteinase B, an asparagine-specific endopeptidase from germinating vetch (Vicia sativa L.) seeds. Eur J Biochem 228:456–462

    CAS  PubMed  Google Scholar 

  • Bottari A, Capocchi A, Galleschi L, Jopova A, Saviozzi F (1996) Asparaginyl endopeptidase during maturation and germination of durum wheat. Physiol Plant 97:475–480

    Article  CAS  Google Scholar 

  • Chen JM, Dando PM, Rawlings ND, Brown MA, Young NE, Stevens RA, Hewitt E, Watts C, Barrett AJ (1997) Cloning, isolation, and characterization of mammalian legumain, an asparaginyl endopeptidase. J Biol Chem 272:8090–8098

    Article  CAS  PubMed  Google Scholar 

  • Davy A, Svendsen I, Sørensen SO, Sørensen MB, Rouster J, Meldal M, Simpson DJ, Cameron-Mills V (1998) Substrate specificity of barley cysteine endopeptidases EP-A and EP-B. Plant Physiol 117:255–261

    Article  CAS  PubMed  Google Scholar 

  • Felsenstein J (1985) Confidence limits on phylogenies: an approach using the bootstrap. Evolution 39:783–791

    Google Scholar 

  • Fischer J, Becker C, Hillmer S, Horstmann C, Neubohn B, Schlereth A, Senyuk V, Shutov A, Müntz K (2000) The families of papain- and legumain-like cysteine proteinases from embryonic axes and cotyledons of Vicia seed: developmental patterns, intercellular localization and functions in globulin proteolysis. Plant Mol Biol 43:83–101

    Article  CAS  PubMed  Google Scholar 

  • Hara-Nishimura I, Inoue K, Nishimura M (1991) A unique vacuolar processing enzyme responsible for conversion of several proprotein precursors into the mature forms. FEBS Lett 294:89–93

    Article  CAS  PubMed  Google Scholar 

  • Hara-Nishimura I, Takeuchi Y, Nishimura M (1993) Molecular characterization of a vacuolar processing enzyme related to a putative cysteine proteinase of Schistosoma mansoni. Plant Cell 5:1651–1659

    Google Scholar 

  • Hara-Nishimura I, Shimada T, Hiraiwa N, Nishimura M (1995) Vacuolar processing enzyme responsible for maturation of seed proteins. J Plant Physiol 145:632–640

    CAS  Google Scholar 

  • Kamphuis IG, Drenth J, Baker EN (1985) Thiol proteases. Comparative studies based on the high-resolution structures of papain and actinidin, and on amino acid sequence information for cathepsins B and H, and stem bromelain. J Mol Biol 182:317–329

    CAS  PubMed  Google Scholar 

  • Karrer KM, Peiffer SL, DiTomas ME (1993) Two distinct gene subfamilies within the family of cysteine protease genes. Proc Natl Acad Sci USA 90:3063–3067

    CAS  PubMed  Google Scholar 

  • Kato H, Minamikawa T (1996) Identification and characterization of a rice cysteine endopeptidase that digests glutelin. Eur J Biochem 239:310–316

    CAS  PubMed  Google Scholar 

  • Kembhavi AA, Buttle DJ, Knight CG, Barrett AJ (1993) The two cysteine endopeptidases of legume seeds: purification and characterizaion by use of specific fluorometric assays. Arch Biochem Biophys 303:208–213

    Article  CAS  PubMed  Google Scholar 

  • Kinoshita T, Nishimura M, Hara-Nishimura I (1995a) Homologues of a vacuolar processing enzyme that are expressed in different organs in Arabidopsis thaliana. Plant Mol Biol 29:81–89

    CAS  PubMed  Google Scholar 

  • Kinoshita T, Nishimura M, Hara-Nishimura I (1995b) The sequence and expression of the γ-VPE gene, one member of a family of three genes for vacuolar processing enzymes in Arabidopsis thaliana. Plant Cell Physiol 36:1555–1562

    Google Scholar 

  • Koehler SM, Ho T-HD (1990a) Hormonal regulation, processing, and secretion of cysteine endopeptidase in barley aleurone layers. Plant Cell 2:769–783

    CAS  PubMed  Google Scholar 

  • Koehler SM, Ho T-HD (1990b) A major gibberellic acid-induced barley aleurone cysteine proteinases in barley aleurone layers. Plant Physiol 94:251–258

    Google Scholar 

  • Laemmli UK (1970) Cleavage of structural proteins during the assembly of the head of bacteriophage T4. Nature 227:680–685

    PubMed  Google Scholar 

  • Manabe T, Tachi K, Kojima K, Okuyama (1979) Two-dimensional electrophoresis of plasma proteins without denaturing agents. J Biochem 85:649–659

    CAS  PubMed  Google Scholar 

  • Mitsuhashi W, Minamikawa T (1989) Synthesis and posttranslational activation of sulfhydryl endopeptidase in cotyledons of germinating Vigna mungo seeds. Plant Physiol 89:274–279

    CAS  Google Scholar 

  • Mitsuhashi W, Koshiba T, Minamikawa T (1986) Separation and characterization of two endopeptidases from cotyledons of germinating Vigna mungo seeds. Plant Physiol 80:628–634

    CAS  Google Scholar 

  • Okamoto T, Minamikawa T (1995) Purification of a processing enzyme (VmPE-1) that is involved in post-translational processing of a plant cysteine endopeptidase (SH-EP). Eur J Biochem 231:300–305

    CAS  PubMed  Google Scholar 

  • Okamoto T, Minamikawa T (1999) Molecular cloning and characterization of Vigna mungo processing enzyme 1 (VmPE-1), an asparaginyl endopeptidase possibly involved in post-translational processing of a vacuolar cysteine endopeptidase (SH-EP). Plant Mol Biol 39:63–73

    Article  CAS  PubMed  Google Scholar 

  • Okamoto T, Yuki A, Mitsuhashi N, Minamikawa T (1999) Asparaginyl endopeptidase (VmPE-1) and autocatalytic processing synergistically activate the vacuolar cysteine proteinase (SH-EP). Eur J Biochem 264: 223–232

    Article  CAS  PubMed  Google Scholar 

  • Rogers S, Bendich A (1985) Extraction of DNA from milligram amounts of fresh, herbarium and mummified plant tissues. Plant Mol Biol 5:69–76

    CAS  Google Scholar 

  • Saitou N, Nei M (1987) The neighbor-joining method: a new method for reconstructing phylogenetic trees. Mol Biol Evol 4:406–425

    CAS  PubMed  Google Scholar 

  • Sambrook J, Fritsch EF, Maniatis T (1989) Molecular cloning: a laboratory manual, 2nd edn. Cold Spring Harbor Laboratory, Cold Spring Harbor, NY

    Google Scholar 

  • Schlereth A, Becker C, Horstmann C, Tiedemann J, Müntz K (2000) Comparison of globulin mobilization and cysteine proteinases in embryonic axes and cotyledons during germination and seedling growth of vetch (Vicia sativa L.) J Exp Bot 51:1423–1433

    Article  CAS  PubMed  Google Scholar 

  • Schlereth A, Standhardt D, Mock H-P, Müntz K (2001) Stored cysteine proteinases start globulin mobilization in protein bodies of embryonic axes and cotyledons during vetch (Vicia sativa L.) seed germination. Planta 212:718–727

    Article  CAS  PubMed  Google Scholar 

  • Senyuk V, Rotari V, Becker C, Zakharov A, Horstmann C, Müntz K, Vaintraub I (1998) Does an asparaginyl-specific cysteine endopeptidase trigger phaseolin degradation in cotyledons of kidney bean seedlings? Eur J Biochem 258:546–558

    Article  CAS  PubMed  Google Scholar 

  • Shimada T, Hiraiwa N, Nishimura M, Hara-Nishimura I (1994) Vacuolar processing enzyme of soybean that converts proproteins to the corresponding mature forms. Plant Cell Physiol 35:713–718

    Google Scholar 

  • Shintani A, Kato H, Minamikawa T (1997) Hormonal regulation of expression of two cysteine endopeptidase genes in rice seedlings. Plant Cell Physiol 38:1242–1248

    Google Scholar 

  • Sutoh K, Kato H, Minamikawa T (1999) Identification and possible roles of three types of endopeptidase from germinated wheat seeds. J Biochem 126:700–707

    CAS  PubMed  Google Scholar 

  • Takaiwa F, Kikuchi S, Oono K (1986) The structure of rice storage protein glutelin precursor deduced from cDNA. FEBS Lett 206:33–35

    Article  CAS  Google Scholar 

  • Takeda O, Miura Y, Mitta M, Matsushita H, Kato I, Abe Y, Yokosawa H, Ishii S (1994) Isolation and analysis of cDNA encoding a precursor of Canavalia ensiformis asparaginyl endopeptidase (legumain). J Biochem 116:541–546

    CAS  PubMed  Google Scholar 

  • Vernet T, Khouri HE, Laflamme P, Tessier DC, Musil R, Gour-Salin BJ, Storer AC, Thomas DY (1991) Processing of the papain precursor. Purification of the zymogen and characterization of its mechanism of processing. J Biol Chem 266:21451–21457

    CAS  PubMed  Google Scholar 

  • von Heijne G (1983) Patterns of amino acids near signal-sequence cleavage sites. Eur J Biochem 133:17–21

    PubMed  Google Scholar 

Download references

Acknowledgements

The antiserum against legumain was generously donated by Dr. Y. Miura-Izu of the Biotechnology Research Laboratories, Takara Shuzo, Japan. This work was supported in part by a grant-in-aid (no. 09640776) from the Ministry of Education, Science, and Culture of Japan.

Author information

Affiliations

Authors

Corresponding author

Correspondence to Keita Sutoh.

Rights and permissions

Reprints and Permissions

About this article

Cite this article

Kato, H., Sutoh, K. & Minamikawa, T. Identification, cDNA cloning and possible roles of seed-specific rice asparaginyl endopeptidase, REP-2. Planta 217, 676–685 (2003). https://doi.org/10.1007/s00425-003-1024-5

Download citation

  • Received:

  • Accepted:

  • Published:

  • Issue Date:

  • DOI: https://doi.org/10.1007/s00425-003-1024-5

Keywords

  • Asparaginyl endopeptidase
  • Cysteine endopeptidase
  • Development
  • Germination
  • Oryza sativa