Skip to main content

Microbial Enzymatic Activities and Community-Level Physiological Profiles (CLPP) in Subsoil Layers Are Altered by Harvest Residue Management Practices in a Tropical Eucalyptus grandis Plantation

Abstract

Harvest residue management is a key issue for the sustainability of Eucalyptus plantations established on poor soils. Soil microbial communities contribute to soil fertility by the decomposition of the organic matter (OM), but little is known about the effect of whole-tree harvesting (WTH) in comparison to stem only harvesting (SOH) on soil microbial functional diversity in Eucalyptus plantations. We studied the effects of harvest residue management (branches, leaves, bark) of Eucalyptus grandis trees on soil enzymatic activities and community-level physiological profiles in a Brazilian plantation. We measured soil microbial enzymatic activities involved in OM decomposition and we compared the community level physiological profiles (CLPP) of the soil microbes in WTH and SOH plots. WTH decreased enzyme activities and catabolic potential of the soil microbial community. Furthermore, these negative effects on soil functional diversity were mainly observed below the 0–5 cm layer (5–10 and 10–20 cm), suggesting that WTH can be harmful to the soil health in these plantations.

This is a preview of subscription content, access via your institution.

Fig. 1
Fig. 2
Fig. 3

References

  1. Achat DL, Deleuze C, Landmann G, Pousse N, Ranger J, Augusto L (2015a) Quantifying consequences of removing harvesting residues on forest soils and tree growth – a meta-analysis. For Ecol Manag 348:124–141

    Article  Google Scholar 

  2. Achat DL, Fortin M, Landmann G, Ringeval B, Augusto L (2015b) Forest soil carbon is threatened by intensive biomass harvesting. Sci Rep 5

  3. Adamczyk B, Adamczyk S, Kukkola M, Tamminen P, Smolander A (2015) Logging residue harvest may decrease enzymatic activity of boreal forest soils. Soil Biol Biochem 82:74–80

    Article  CAS  Google Scholar 

  4. Boerner REJ, Brinkman JA, Smith A (2005) Seasonal variations in enzyme activity and organic carbon in soil of burned and unburned hardwood forest. Soil Biol Biochem 37:1419e1426

    Article  CAS  Google Scholar 

  5. Brant JB, Myrold DD, Sulzman EW (2006) Root controls on soil microbial community structure in forest soils. Oecologia 148:650–659

    Article  PubMed  Google Scholar 

  6. Caldwell BA (2005) Enzyme activities as a component of soil biodiversity: a review. Pedobiologia 49:637–644

    Article  CAS  Google Scholar 

  7. Carneiro M, Serrão V, Fabião A, Madeira M, Balsemão I, Hilário L (2009) Does harvest residue management influence biomass and nutrient accumulation in understory vegetation of Eucalyptus globulus Labill. plantations in a Mediterranean environment? For Ecol Manag 257:527–535

    Article  Google Scholar 

  8. Chen CR, Xu ZH (2005) Soil carbon and nitrogen pools and microbial properties in a 6-year-old slash pine plantation of subtropical Australia: impacts of harvest residue management. For Ecol Manag 206:237–247

    Article  Google Scholar 

  9. Cookson WR, O’Donnell AJ, Grant CD, Grierson PF, Murphy DV (2008) Impact of ecosystem management on microbial community level physiological profiles of postmining forest rehabilitation. Microb Ecol 55:321–332

    Article  CAS  PubMed  Google Scholar 

  10. de Dieu Nzila J, Bouillet J-P, Laclau J-P, Ranger J (2002) The effects of slash management on nutrient cycling and tree growth in Eucalyptus plantations in the Congo. For Ecol Manag 171:209–221

    Article  Google Scholar 

  11. Epron D, Mouanda C, Mareschal L, Koutika L-S (2015) Impacts of organic residue management on the soil C dynamics in a tropical eucalypt plantation on a nutrient-poor sandy soil after three rotations. Soil Biol Biochem 85:183–189

    Article  CAS  Google Scholar 

  12. Han S-K, Han H-S, Page-Dumroese DS, Johnson LR (2009) Soil compaction associated with cut-to-length and whole-tree harvesting of a coniferous forest. Can J For Res 39(5):976–989

    Article  Google Scholar 

  13. IUSS Working Group WRB (2015) World Reference Base for Soil Resources 2014. Update 2015 International soil classification system for naming soils and creating legends for soil maps. World soil resources reports no. 106. Food and Agriculture Organization of the United Nations, Rome

    Google Scholar 

  14. Jones HE, Madeira M, Herraez L, Dighton J, Fabiâo A, González-Rio F, Marcos MF, Gomez C, Tomé M, Feith H (1999) The effect of organic-matter management on the productivity of Eucalyptus globulus stands in Spain and Portugal: tree growth and harvest residue decomposition in relation to site and treatment. For Ecol Manag 122:73–86

    Article  Google Scholar 

  15. Kang H, Kang S, Lee D (2009) Variations of soil enzyme activities in a temperate forest soil. Ecol Res 24:1137e1143

    Article  CAS  Google Scholar 

  16. Kim, S., Li, G., Han, S.H., Kim, H.-J., Kim, C., Lee, S.-T., and Son, Y. (2018). Thinning affects microbial biomass without changing enzyme activity in the soil of Pinus densiflora Sieb. et Zucc. forests after 7 years. Ann For Sci 75

  17. Kotroczó Z, Veres Z, Fekete I, Krakomperger Z, Tóth JA, Lajtha K, Tóthmérész B (2014) Soil enzyme activity in response to long-term organic matter manipulation. Soil Biol Biochem 70:237–243

    Article  CAS  Google Scholar 

  18. Laclau J-P, Levillain J, Deleporte P, Nzila J d D, Bouillet J-P, Saint André L, Versini A, Mareschal L, Nouvellon Y, Thongo M’Bou A et al (2010) Organic residue mass at planting is an excellent predictor of tree growth in Eucalyptus plantations established on a sandy tropical soil. For Ecol Manag 260:2148–2159

    Article  Google Scholar 

  19. Lladó S, Baldrian P (2017) Community-level physiological profiling analyses show potential to identify the copiotrophic bacteria present in soil environments. PLoS One 12:e0171638

    Article  CAS  PubMed  PubMed Central  Google Scholar 

  20. Mendham DS, Sankaran KV, O’connell AM, Grove TS (2002) Eucalyptus globulus harvest residue management effects on soil carbon and microbial biomass at 1 and 5 years after plantation establishment. Soil Biol Biochem 34:1903–1912

    Article  CAS  Google Scholar 

  21. Mendham D, O’Connell A, Grove T, Rance S (2003) Residue management effects on soil carbon and nutrient contents and growth of second rotation eucalypts. For Ecol Manag 181:357–372

    Article  Google Scholar 

  22. O’Connell A (2004) Impact of harvest residue management on soil nitrogen dynamics in Eucalyptus globulus plantations in south western Australia. Soil Biol Biochem 36:39–48

    Article  CAS  Google Scholar 

  23. Oksanen J, Blanchet FG, Kindt R, Legendre P, Minchin PR, O'Hara RB et al (2013) Vegan: community ecology package, version 2.0–7. R package. Available: http://CRAN.R-project.org/package=vegan

  24. Paquette A, Messier C (2010) The role of plantations in managing the world’s forests in the Anthropocene. Front Ecol Environ 8:27–34

    Article  Google Scholar 

  25. Pisani O, Lin LH, Lun OOY, Lajtha K, Nadelhoffer KJ, Simpson AJ, Simpson MJ (2016) Long-term doubling of litter inputs accelerates soil organic matter degradation and reduces soil carbon stocks. Biogeochemistry 127:1–14

    Article  CAS  Google Scholar 

  26. Preston-Mafham J, Boddy L, Randerson PF (2002) Analysis of microbial community functional diversity using solecarbon-source utilisation profiles – a critique. FEMS Microbiol Ecol 42:1–14

    CAS  PubMed  Google Scholar 

  27. Proe MF, Griffiths J, McKay HM (2001) Effect of whole-tree harvesting on microclimate during establishment of second rotation forestry. Agric For Meteorol 110:141–154

    Article  Google Scholar 

  28. R Core Team (2016) R: a language and environment for statistical computing. R Foundation for statistical computing, Vienna, Austria. URL http://www.R-project.org/

  29. Saiya-Cork K, Sinsabaugh R, Zak D (2002) The effects of long term nitrogen deposition on extracellular enzyme activity in an Acer saccharum forest soil. Soil Biol Biochem 34:1309–1315

    Article  CAS  Google Scholar 

  30. Smolander A, Levula T, Kitunen V (2008a) Response of litter decomposition and soil C and N transformations in a Norway spruce thinning stand to removal of logging residue. For Ecol Manag 256:1080–1086

    Article  Google Scholar 

  31. Smolander A, Kitunen V, Tamminen P, Kukkola M (2010) Removal of logging residue in Norway spruce thinning stands: long-term changes in organic layer properties. Soil Biol Biochem 42:1222–1228

    Article  CAS  Google Scholar 

  32. Šnajdr J, Valášková V, Merhautová V, Herinková J, Cajthaml T, Baldrian P (2008) Spatial variability of enzyme activities and microbial biomass in the upper layers of Quercus petraea forest soil. Soil Biol Biochem 40:2068–2075

    Article  CAS  Google Scholar 

  33. Stone MM, DeForest JL, Plante AF (2014) Changes in extracellular enzyme activity and microbial community structure with soil depth at the Luquillo Critical Zone Observatory. Soil Biol Biochem 75:237–247

    Article  CAS  Google Scholar 

  34. Taylor JP, Wilson B, Mills MS, Burns RG (2002) Comparison of microbial numbers and enzymatic activities in surface soils and subsoils using various techniques. Soil Biol Biochem 34:387–401

    Article  CAS  Google Scholar 

  35. Uroz S, Ioannidis P, Lengelle J, Cébron A, Morin E, Buée M, Martin F (2013) Functional assays and metagenomic analyses reveals differences between the microbial communities inhabiting the soil horizons of a Norway spruce plantation. PLoS One 8:e55929

    Article  CAS  PubMed  PubMed Central  Google Scholar 

  36. van der Heijden MGA, Bardgett RD, van Straalen NM (2008) The unseen majority: soil microbes as drivers of plant diversity and productivity in terrestrial ecosystems. Ecol Lett 11:296–310

    Article  PubMed  Google Scholar 

  37. Versini A, Nouvellon Y, Laclau J-P, Kinana A, Mareschal L, Zeller B, Ranger J, Epron D (2013) The manipulation of organic residues affects tree growth and heterotrophic CO2 efflux in a tropical Eucalyptus plantation. For Ecol Manag 301:79–88

    Article  Google Scholar 

  38. Waldrop MP, Firestone MK (2004) Microbial community utilization of recalcitrant and simple carbon compounds: impact of oak-woodland plant communities. Oecologia 138:275–284

    Article  PubMed  Google Scholar 

  39. Wall A (2012) Risk analysis of effects of whole-tree harvesting on site productivity. For Ecol Manag 282:175–184

    Article  Google Scholar 

  40. Wallenstein MD, Weintraub MN (2008) Emerging tools for measuring and modeling the in situ activity of soil extracellular enzymes. Soil Biol Biochem 40:2098–2106

    Article  CAS  Google Scholar 

  41. Weintraub SR, Wieder WR, Cleveland CC, Townsend AR (2013) Organic matter inputs shift soil enzyme activity and allocation patterns in a wet tropical forest. Biogeochemistry 114:313–326

    Article  CAS  Google Scholar 

Download references

Acknowledgments

We would like to thank the two anonymous reviewers for their helpful corrections and comments contributing to improve this article.

Funding

This work was supported by a grant overseen by the French National Research Agency (ANR) as part of the “Investissements d’Avenir” program (ANR-11-LABX-0002-01, Laboratory of Excellence ARBRE). FM holds a PhD fellowship awarded by the Région Lorraine and the Laboratory of excellence ARBRE (BRIDGE project). We acknowledge the staff of the Itatinga Experimental Station (ESALQ-USP), and Eder Araujo da Silva and Floragro for their technical support for the sampling. This site belongs to the SOERE F-ORE-T network, which is supported annually by ECOFOR, AllEnvi and the French national research infrastructure ANAEE (http://www.anaeefrance.fr/fr/).

Author information

Affiliations

Authors

Corresponding author

Correspondence to François Maillard.

Ethics declarations

Conflict of Interest

The authors declare that they have no conflict of interest.

Electronic Supplementary Material

Figure S1
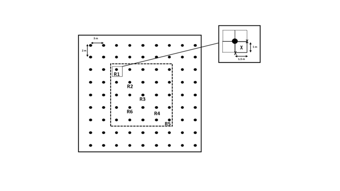
figure 4

Sampling design. Black dots represent Eucalyptus grandis trees. R 1:6 are the identification codes of the samples for one plot. R6 sample position was randomly chosen in each plot. Cross represents the sampling zone near each Eucalyptus grandis tree. (PNG 271 kb)

High resolution image (TIF 89 kb)

Rights and permissions

Reprints and Permissions

About this article

Verify currency and authenticity via CrossMark

Cite this article

Maillard, F., Leduc, V., Bach, C. et al. Microbial Enzymatic Activities and Community-Level Physiological Profiles (CLPP) in Subsoil Layers Are Altered by Harvest Residue Management Practices in a Tropical Eucalyptus grandis Plantation. Microb Ecol 78, 528–533 (2019). https://doi.org/10.1007/s00248-018-1298-6

Download citation

  • Received:

  • Accepted:

  • Published:

  • Issue Date:

  • DOI: https://doi.org/10.1007/s00248-018-1298-6

Keywords

  • Tropical forest soil
  • Forest residue management
  • Eucalyptus grandis
  • Enzyme activities
  • CLPP