The Dominant Influence of Plastic Deformation Induced Residual Stress on the Barkhausen Effect Signal in Martensitic Steels
- 784 Downloads
- 2 Citations
Abstract
The paper presents the results of investigation of the influence of plastic deformation on the magnetic properties of martensitic steel (P91 grade). The properties of the hysteresis loops as well as of the Barkhausen effect (BE) signal are analysed for both tensile and compressive loading up to \(\varepsilon = 10\)% of plastic deformation. The choice of the steel and of the deformation range is unique, since for such combination one can expect high residual stresses (both compressive and tensile) in the material that does not exhibit saturation of the BE intensity as a function of elastic stress. The obtained relationships show that for the low level of deformation the dislocation density changes may play a dominant role, yet for higher deformation level the residual stress becomes a dominant factor. It leads to the strong decrease of the BE signal for tensile deformation and an increase for the case of compression. It agrees well with the assumption that the tensile plastic deformation results in the compressive stresses appearance in the soft (magnetically active) sub-regions of the material whereas for the compression one can expect a residual stress of a tensile nature in those areas. Both deformation modes result in the increase of coercivity of the samples, yet the increase observed for the tensile deformation is significantly higher since both the residual compressive stress and increase of dislocation density have a strong effect on the material coercivity. The change of the hysteresis loops steepness agrees well with the notion of the dominant role of residual stresses too.
Keywords
Barkhausen effect Plastic deformation Residual stress Magnetic hysteresis Coercivity1 Introduction
The process of plastic deformation results in a strong modification of the dislocation density and arrangement. At the beginning of the process there is a sharp increase of the density of randomly distributed dislocations that for the higher deformation levels tend to group and form the so called dislocation cell structure. Such structure consists of the hard (both mechanically and magnetically) regions of the cell walls and much softer (with lower dislocation densities) cell interiors. In such structures there appear internal residual stresses of opposite signs in soft and hard regions. For instance after the tensile deformation, in the unloaded state, the soft regions are being compressed while the hard ones remain under tension [1, 2, 3]. The dislocation tangles create not only the obstacles hindering the plastic flow of the material but also tend to interact strongly (in the ferromagnetic materials) with the magnetic domain walls (DW). The discontinuous motion of the DWs that are pinned by dislocation tangles (but also precipitates, grain boundaries and other material inhomogeneities) results in the local abrupt change of the magnetic flux density that can be detected with the help of the detecting coil, either encircling the investigated material or placed close to its surface. Such effect is called the Barkhausen effect (BE) and the induced voltage is referred to as the Barkhausen noise signal. One has, however, to take into account that only the signal from the close to the surface region can be detected, since the BE signal is strongly attenuated in conducting materials (due to its relatively high frequency of order of up to about 100 kHz or even higher). Because the direct source of the BE are the processes of interaction of DWs with the microstructural features, the BE noise signal is closely related to the dislocation density and arrangement. Being so, it should be possible to apply the analysis of the BE signal properties for the assessment of the plastic deformation level in ferromagnetic materials. Such attempts have been made yet, as it turned out, the observed dependence of the BE signal intensity on the deformation level is strongly material dependent—for the tensile deformation it can increase [4] for soft materials, such as e.g. Armco iron, decrease [5] for high strength martensitic steels, or behave in a nonmonotonic way [6, 7] for the intermediate materials. Being so the assessment of the deformation level sometimes requires application of rather advanced signal analysis techniques. Most studies were carried out on the samples subjected to tensile deformation due to serious problems with the buckling of the samples during the compression. For the mechanical test the problem can be avoided by an appropriate sample geometry, yet samples of such shape are not well suited for the BE measurements. Nonetheless an attempt on such measurements has also been made by Kleber and Vincent [8]. Even though the compression level was significantly lower than in the case of tensile deformation, on the basis of the combined analysis of the BE signal intensity and shape they suggested that the problem with prediction of the BE signal intensity behaviour during deformation arises from the fact that it is a result of two factors—the change in the dislocation density and internal stresses distribution. The internal stress level of the higher order is directly connected with the dislocation density, yet the influence of them on the BE intensity is different. Such statement was to a high degree intuitive as they investigated relatively soft materials (with low residual stress level expected). In our paper we analyse the behaviour of high strength steel subjected to high compression level and the results fully confirm that notion.
Apart from the changes in the BE signal properties the “normal” magnetic properties, such as the hysteresis loop shape or coercivity, also change during the plastic deformation [9, 10]. The increase in the dislocation density leads to the increase in the coercivity of the material for both compressive and tensile deformation. In addition to that a characteristic “bulge” is observed for the samples subjected to tensile deformation. The appearance of such feature is believed to be the result of the appearance of regions of high compressive residual stress in the areas with lower dislocation densities such as dislocation cells interiors [11]. Such changes, even though they are most probably a signature of plastics deformation cannot be usually applied for the assessment of the plastic deformation level in a non-destructive way in industrial components since the hysteresis measurements are not easily performed in such conditions. The sensitivity of magnetic parameters may be improved by the application of Magnetic Adaptive Technique (MAT) [12], the method, however, requires somewhat complicated data processing to find the optimum signal descriptors.
The paper presents unique data as is analyses martensitic steel subjected to both compressive and tensile deformation of high level. Due to its microstructure, which is very fine grained and characterized by the high dislocation density, the dependence of the BE intensity on the stress level is very strong and does not tend to saturate in the elastic regime [13] (which is the case for ferritic/bainitic steels). In addition to that, thanks to the high yield strength of the samples one can expect important back stresses arising as a result of plastic deformation. As a result of those two facts one can expect the residual stress to play a dominant role in the behaviour of the BE signal for strongly deformed samples.
2 Experimental
Chemical composition of P91 steel
| Element | C | Si | Mn | P | S | Cr | Mo | Ni | Al | Cu | Ti | Nb | V |
|---|---|---|---|---|---|---|---|---|---|---|---|---|---|
| Wt. (%) | 0.085 | 0.27 | 0.30 | 0.015 | <0.01 | 8.2 | 0.86 | 0.16 | 0.01 | 0.15 | <0.01 | 0.098 | 0.19 |
Deformation levels of the investigated samples
| T1 | T2 | T3 | T4 | T5 | T6 | T7 | T8 | T9 | T10 | |
|---|---|---|---|---|---|---|---|---|---|---|
| Tensile deformed samples | ||||||||||
| \(\varepsilon \) (%) | 0.102 | 0.195 | 0.294 | 0.393 | 0.487 | 0.793 | 1.593 | 2.484 | 5.01 | 9.971 |
| C1 | C2 | C3 | C4 | C5 | C6 | C7 | C8 | C9 | C10 | |
|---|---|---|---|---|---|---|---|---|---|---|
| Compressed samples | ||||||||||
| \(\varepsilon \) (%) | 0.096 | 0.198 | 0.306 | 0.402 | 0.487 | 0.801 | 1.597 | 2.486 | 4.983 | 10.03 |
| C11 | C12 | C13 | C14 | C15 | C16 | C17 | C18 | C19 | C20 | |
|---|---|---|---|---|---|---|---|---|---|---|
| Compressed samples | ||||||||||
| \(\varepsilon \) (%) | 0.106 | 0.201 | 0.314 | 0.409 | 0.503 | 0.801 | 1.600 | 2.501 | 5.010 | 10.09 |
The shape of the investigated samples (dimensions in mm)
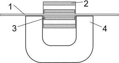
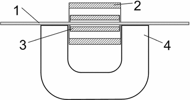
Schematic view of the measurement set-up. 1 sample, 2 magnetising coil, 3 sensing coil, 4 soft magnetic yoke
Both coils were dedicated to the measurement setup (their carcasses were prepared using 3D printing) and fitted the gap between the yoke legs in order to make the best use of the sample gauge length. The magnetising coil was fed by the triangular in form current from the analog current amplifier driven by the signal provided by the multifunction data acquisition device NI USB-6366. The same device was also responsible for the signal acquisition (sampling rate was equal to 2 MHz). The signal from the detecting coil was pre-amplified and then either used for the hysteresis loops determination (numerical integration) or after the low frequency component removal (HPF filtering, \(f_{cut-off} = 800\) Hz) and further amplification treated as the BE noise signal. The as—measured BE signal was numerically filtered (1–300 kHz) and its rms-like envelopes and pulse count distributions were recorded.
3 Results
Magnetic hysteresis loops for the samples subjected to tensile deformation
Magnetic hysteresis loops for the samples subjected to compressive deformation
3.1 Magnetic Properties
The hysteresis loops obtained for the samples subjected to the tensile and compressive deformation are shown in Figs. 3 and 4 respectively. For the tensile deformation, the behaviour is typical and agrees well with the results described in literature. As the deformation progresses the coercivity increases, the steepness of the loops decrease and characteristic “bulge” in the central part of hysteresis loop appears. As it was mentioned earlier such deformation of the central part of the loop is probably due to the residual compressive stresses after the unloading of the sample. Such assumption is confirmed by the fact that it is not observed for the plastically deformed samples (tensile deformation) that were investigated in the loaded state [15]. Such shape deformation can be also modelled with the help of Preisach simulations in the material subjected to compressive stress [16]. For the samples subjected to compression the loops do not undergo such a serious modification. The coercivity increases during deformation, yet there is no pronounced change in the steepness of the obtained loops. It is understandable if we assume the presence of the residual stresses of tensile type, such stresses can reach relatively high level for martensitic steels [17]. It is known that such stresses do not modify the shape of hysteresis loops very much (see e.g. [18]), so the most important factor influencing the hysteresis loop change becomes the increase of dislocation density which is strongly correlated with the coercivity of the samples.
Coercivity of the investigated samples as a function of the deformation level
Differential permeability of the investigated samples as a function of the deformation level
Barkhausen effect signal envelopes for samples subjected to tensile deformation
Barkhausen effect signal envelopes for samples subjected to compression
3.2 Barkhausen Effect Signal Properties
BE signal intensity as a function of the deformation level
Pulse count rate—tensile deformation (low threshold voltage)
Pulse count rate—compression (low threshold voltage)
Pulse count rate—tensile deformation (high threshold voltage)
Pulse count rate—compression (high threshold voltage)
Total pulse count as a function of deformation level—low threshold voltage \(U_{0} = 0.8\)
Total pulse count as a function of deformation level—low threshold voltage \(U_{0} = 1.8\) V
Another approach to the BE signal analysis, especially useful for the elastic strain level assessment is the pulse count analysis [21]. The plots presenting the pulse count rate as a function of magnetising current are shown for low (\(U_{0} = 0.8\) V) threshold voltage (voltage level above which the pulses are counted) in Fig. 10 (tensile deformation) and Fig. 11 (compression). The observed behaviour is similar to that observed for the rms-like envelopes but the changes are less pronounced what suggests that the changes in the signal intensity are mostly due to the high voltage pulses. Pulse count rate for low threshold level treats high and low pulses in the same way hence the influence of the first ones on the signal intensity is underestimated. Two following figures present the analogous results obtained for the high (\(U_{0} = 1.8\) V) threshold voltage level (Fig. 12 shows the results for tensile deformation, and Fig. 13 for compression). In this case the observed differences are much more pronounced. The increase in the maximum count rate for the low level of tensile deformation is very strong—it is over two times higher than for the non-deformed sample. It shows that the high pulses, resulting from the abrupt depinning from newly created dislocation tangles are the main source of the BE intensity envelope maximum increase. As for the compressive deformation, the changes are non-monotonic, the count rate initially decreases, but as the deformation progresses the observed increase is much more pronounced than the one observed for the small pulses. One can also observe that for the high threshold level and for the non-deformed sample the first peak (clearly visible while analysing small pulses) almost disappears. For the purpose of the quantitative analysis we used as a parameter the total pulse count. The plots showing the dependence of the total pulse count on the deformation level are shown in Fig. 14 (low threshold voltage level \(U_{0} = 0.8\) V) and Fig. 15 (high threshold voltage level \(U_{0} = 1.8\) V). Both curves have the shape similar to the one observed for the curve plotted in the case of the BE intensity analysis, but the range of the relative change of the sigmoidal function is much higher in the case of the high threshold level than in the case of the lower one. It is a very important result as such behaviour is one of the most characteristic features of the curves obtained during the calibration procedure (pulse count as a function of elastic strain) of various steels [21]. The range of change obtained, during such procedure, is always much higher while using the high threshold. The only problem with application for the analysis of elastic strain (and also, as can be seen, plastic deformation) of the calibration curves based on the high pulse total count is the fact that it may become too small and hence prone to high statistical scatter. In our case, for instance the count for the non-deformed sample is about thirty times lower for high threshold than for the low one. The difference is even bigger for the highest tensile deformation level, in which case the count for high threshold decreases to merely 22 pulses (about 500 times lower than for the low threshold) what does not guarantee obtaining reliable results. What is interesting, also for the tensile deformation there is observed local maximum (for the \(\varepsilon = 1.6\)%) which is probably due to the dislocation cell formation onset.
4 Conclusions
The unwanted plastic deformation process is one of the potentially most dangerous causes of industrial components failure. Being so, the possibility of nondestructive evaluation of the plastic deformation level has been investigated for a long time now. The properties of the magnetic hysteresis loops change strongly during plastic deformation and by using two parameters (e.g. permeability and coercivity) that level could be determined unambiguously. Such measurements, however, are usually not feasible in the industrial environment. The obvious alternative seems to be application of the Barkhausen effect signal analysis. Yet, even though the possibility had been investigated for many years, the results were not obvious and various trends were observed. It was suggested that such discrepancy may be due to the fact that two different processes have to be taken into account. First one is the dislocation density and distribution modification—the process that is strongly dependent on the material initial dislocation structure. The second one is the appearance of the residual stresses of the character opposite to the applied deformation (compressive stress for plastic tensile deformation). This process leads always to the increase of the BE intensity for the compressive deformation and its decrease for the tensile one. The strength of the change depends on the level of residual stress and hence is connected with the material yield strength (the stronger the material the higher residual stress may be expected).
Our results, showing the sigmoidal dependence of the BE signal intensity on the plastic deformation level fully confirm the importance of the residual stress. In addition to that, the very characteristic feature deduced from the pulse count analysis— namely the stronger rate of change of the count rate of higher pulses—further confirms the assumption that the residual stress is the main factor governing the observed BE intensity changes for higher deformation levels in high strength martensitic steels.
Notes
Acknowledgements
This work has been partially funded by the Polish National Science Centre grant No 2014/15/B/ST8/04368.
References
- 1.Feaugas, X.: On the origin of the tensile flow stress in the stainless steel AISI 316L at 300K: back stress and effective stress. Acta Mater. 47, 3617–3631 (1999). doi: 10.1016/S1359-6454(99)00222-0 CrossRefGoogle Scholar
- 2.Mughrabi, H.: Deformation-induced long-range internal stresses and lattice plane misorientations and the role of geometrically necessary dislocations. Philos. Mag. 86, 4037–4054 (2006). doi: 10.1080/14786430500509054 CrossRefGoogle Scholar
- 3.Mughrabi, H.: Dual role of deformation-induced geometrically necessary dislocations with respect to lattice plane misorientations and/or long-range internal stresses. Acta Mater. 54, 3417–3427 (2006). doi: 10.1016/j.actamat.2006.03.047 CrossRefGoogle Scholar
- 4.Piotrowski, L., Augustyniak, B., Chmielewski, M., Hristoforou, E.V., Kosmas, K.: Evaluation of Barkhausen noise and magnetoacoustic emission signals properties for plastically deformed Armco iron. IEEE Trans. Magn. 46(5), 239–242 (2010). doi: 10.1109/TMAG.2009.2034020 CrossRefGoogle Scholar
- 5.Makowska, K., Kowalewski, Z.L., Augustyniak, B., Piotrowski, L.: Determination of mechanical properties of P91 steel by means of magnetic Barkhausen emission. J. Theor. Appl. Mech. 52, 181–188 (2014)Google Scholar
- 6.Stefanita, C.G., Atherton, D.L., Clapham, L.: Plastic versus elastic deformation effects on magnetic Barkhausen noise in steel. Acta Mater. 48, 3545–3551 (2000). doi: 10.1016/S1359-6454(00)00134-8 CrossRefGoogle Scholar
- 7.Piotrowski, L., Augustyniak, B., Chmielewski, M., Kowalewski, Z.: Multiparameter analysis of the Barkhausen noise signal and its application for the assessment of plastic deformation level in 13HMF grade steel. Meas. Sci. Technol. 21, 115702 (2010). doi: 10.1088/0957-0233/21/11/115702 CrossRefGoogle Scholar
- 8.Kleber, X., Vincent, A.: On the role of residual internal stresses and dislocations on Barkhausen noise in plastically deformed steel. NDT&E Int. 37, 439–445 (2004). doi: 10.1016/j.ndteint.2003.11.008 CrossRefGoogle Scholar
- 9.Makar, J.M., Tanner, B.K.: The effect of plastic deformation and residual stress on the permeability and magnetostriction of steels. J. Magn. Magn. Mater. 222, 291–304 (2000). doi: 10.1016/S0304-8853(00)00558-8
- 10.Kuleev, V.G., Tsar’kova, T.P., Nichipuruk, A.P.: Specific features of the behavior of the coercive force in low-carbon plastically deformed steels. Russ. J. Nondestruct. Test. 41, 285–295 (2005). doi: 10.1007/s11181-005-0168-8 CrossRefGoogle Scholar
- 11.Kuleev, V.G., Tsar’kova, T.P., Sazhina, E.Y., Doroshek, A.S.: On the influence of plastic deformation of low-carbon ferromagnetic steels on the changes in the shapes of their hysteresis loops and the field dependences of the differential permeability. Russ. J. Nondestruct. Test. 51, 738–749 (2015). doi: 10.1134/S1061830915120062 CrossRefGoogle Scholar
- 12.Stupakov, O., Tomas, I., Pal’a, J., Bydzovsky, J., Bosansky, J., Smida, T.: Traditional, Barkhausen and MAT magnetic response to plastic deformation of low-carbon steel. Czech. J. Phys. 54, D47–D50 (2004)CrossRefGoogle Scholar
- 13.Samimi, A.A., Krause, T.W., Clapham, L.: Stress response of magnetic barkhausen noise in submarine hull steel: a comparative study. J. Nondestruct. Eval. 35, 32 (2016). doi: 10.1007/s10921-016-0348-6 CrossRefGoogle Scholar
- 14.Dietrich, L., Socha, G., Kowalewski, Z.L.: Anti-buckling fixture for large deformation tension-compression cyclic loading of thin metal sheets. Strain 50, 174–183 (2014). doi: 10.1111/str.12078 CrossRefGoogle Scholar
- 15.Makar, J.M., Tanner, B.K.: The in situ measurement of the effect of plastic deformation on the magnetics properties of steel. Part I—Hysteresis loops and magnetostriction. J. Magn. Magn. Mater. 184, 193–208 (1998). doi: 10.1016/S0304-8853(97)01129-3 CrossRefGoogle Scholar
- 16.ElBidwihy, H., Burgy, C.D., Della Torre, E.: Stress-associated changes in the magnetic properties of high strength steel. Physica B 435, 16–20 (2014). doi: 10.1016/j.physb.2013.05.005 CrossRefGoogle Scholar
- 17.Hoffmann, B., Vöhringer, O., Macherauch, E.: Effect of compressive plastic deformation on mean lattice strains, dislocation densities and flow stresses of martensitically hardened steels. Mater. Sci. Eng. A 319, 299–303 (2001). doi: 10.1016/S0921-5093(01)00978-9 CrossRefGoogle Scholar
- 18.Piotrowski, L., Chmielewski, M., Augustyniak, B.: The influence of elastic deformation on the properties of the magnetoacoustic emission (MAE) signal for GO electrical steel. J. Magn. Magn. Mater. 324, 2496–2500 (2012). doi: 10.1016/j.jmmm.2012.03.021 CrossRefGoogle Scholar
- 19.Langman, R.: Magnetic properties of mild steel under conditions of biaxial stress. IEEE Trans. Magn. 26(4), 1246–1251 (1990). doi: 10.1109/20.54015 CrossRefGoogle Scholar
- 20.Pearson, J., Squire, P.T., Maylin, M.G., Gore, J.G.: Biaxial stress effects on the magnetic properties of pure iron. IEEE Trans. Magn. 36(5), 3251–3253 (2000)CrossRefGoogle Scholar
- 21.Augustyniak, B.: Magneto-elastic phenomena and their applications in non-destructive evaluation of materials. Gdansk University of Technology, Gdansk (2003)Google Scholar
- 22.Hristoforou, E., Vourna, P., Ktena, A., Svec, P.: On the universality of the dependence of magnetic parameters on residual stress in steels. IEEE Trans. Magn. 52(5), 6201106 (2016). doi: 10.1109/TMAG.2015.2509642 CrossRefGoogle Scholar
Copyright information
Open AccessThis article is distributed under the terms of the Creative Commons Attribution 4.0 International License (http://creativecommons.org/licenses/by/4.0/), which permits unrestricted use, distribution, and reproduction in any medium, provided you give appropriate credit to the original author(s) and the source, provide a link to the Creative Commons license, and indicate if changes were made.














